Патент натякає на універсальний і навіть революційний функціонал пристрою.

Пристрій, сумісний з Vision Pro, задумано як невеликий портативний гаджет / фото Apple
Відомство з патентів і товарних знаків США опублікувало патент Apple, в якому описується пристрій під назвою “цифровий камінь”. Він призначений для роботи з гарнітурою Vision Pro, але потенціал у нього куди цікавіше, пише Gizmochina.
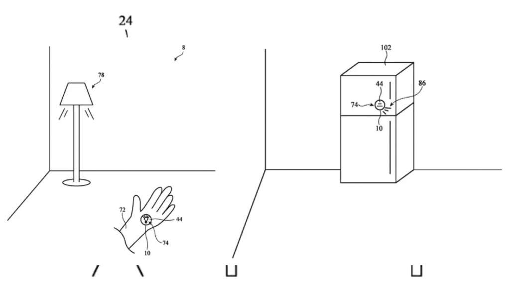
Судячи з опису, пристрій замислюється як невеликий портативний гаджет розміром “з камінчиком або монету”. Патент показує, що “цифровий камінь” може мати вбудовані мікрофони для голосового управління і динаміки для звукового зворотного зв’язку.
Потенційно він може пропонувати можливості відстеження місця розташування і тактильний зворотний зв’язок за допомогою вібрації – функція, відсутня у Apple Vision Pro, оскільки користувачеві доводиться покладатися на інтуїтивне управління жестами і рухами очей.
У Gizmochina пишуть, що функціональні можливості “цифрового каменю” здаються вельми універсальними. Він може виступати як особистий асистент, керуючи розумним будинком або додатками за допомогою голосових команд. Цікаво також, що такий пристрій зможе підключатися до електроніки, такої як навушники, колонки, смартфони і ноутбуки.
А для згаданої гарнітури Vision Pro він зможе виступати як “якір або маркер” в умовах доповненої реальності (AR) або віртуальної реальності (VR).


Зі “злитої” дорожньої карти Apple стало відомо, що 2026 року компанія планує випустити доступнішу версію Vision Pro. Це гаджет у вигляді гірськолижної маски для перегляду фільмів, спілкування, роботи та ігор. ЗМІ називають гарнітуру найкращим пристроєм подібного типу, але про революцію говорити поки що зарано.
В іншому патенті Apple згадується iPhone з технологією самовідновлюваного екрана. Такий смартфон буде не тільки стійкішим до пошкодження екрана, а й сам усуне їх.

